认购潮来袭,7盘扎堆开启认购!
扫描到手机,新闻随时看
扫一扫,用手机看文章
更加方便分享给朋友
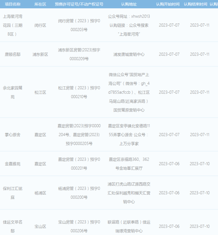
据网上房地产网站最新公示,上海新房市场7月6日和7月7日将共计有7个项目开启认购!除掌心原舍项目外,其余6个项目全部为六批次刚刚过会项目。

佳运瑞璟湾
佳运瑞璟湾为六批次宝山新盘“独苗”,地处大宁北的外环内,共富、共康板块衔接处。首开推出280套约98-166㎡3-4房,备案均价64314元/㎡,总价仅约550万起。项目将于7月6日-7月10日认购,认购金70万。
保利越秀和樾天汇
保利越秀和樾天汇位于内环内杨浦滨江,项目一期随去年八批次入市,收获了约318%的认购率,入围分54.76,最终实现开盘日光。二期推284套约99-173㎡3-4房,入围比2.5,均价115000元/㎡。项目7月6日-7月10日认购,认购金138万。
金地峯汇
金地峯汇距离11号线马陆站直线约460米,一期661套房源入市时入围分60分,二期加推352套约89-102㎡3房,均价49000元/㎡,总价仅约380万起。项目7月6日-7月10日认购,认购金46万。

掌心原舍
掌心原舍位于嘉定安亭,将于7月7日-7月11日认购,认购金100万。项目此次仅推出9套叠加、联排别墅,均价50298元/㎡。
国贸鹭原位于松江佘山北、赵巷别墅区旁,项目即将加推337套约57-96㎡1-3房,均价47700元/㎡,7月7日-7月11日认购,认购金40万。

浦发唐城二期位于唐镇,紧邻2号线创新中路站。项目一期推出341套房源,吸引了1077组客户认购,入围分高达76.77分,当日售罄。二期将加推300 套95-133㎡3-4房,均价68500元/㎡,将于7月7日-7月11日认购,认购金76万。

上海星河湾
上海星河湾位于闵行,即将入市的为项目最后一栋楼,仅50套约259-432㎡精装大平层,均价83000 元/㎡。7月7日-7月11日认购,认购金218万。
声明:本文由入驻焦点开放平台的作者撰写,除焦点官方账号外,观点仅代表作者本人,不代表焦点立场。


