总价约73.37亿!黄浦金陵东路余庆里“巨无霸”地块正式出让!
扫描到手机,新闻随时看
扫一扫,用手机看文章
更加方便分享给朋友
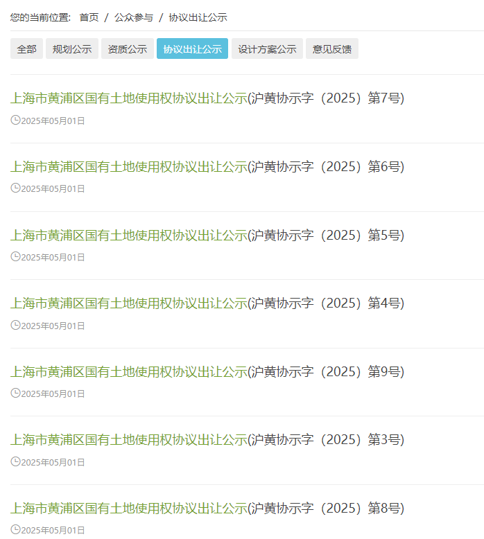
据上海市规划和自然资源局公示,黄浦金陵东路余庆里7副地块正式进行协议出让,出让总金额73.2654亿,意向用地者是上海黄浦城市更新建设发展有限公司!
据了解,上海黄浦城市更新建设发展有限公司股权人为:金外滩集团(控股占比40%)与上海地产集团(控股占比60%)。
该地块的出让采用“场所联动”交易模式,未来会在上海联合产权交易所进行股权转让。
“场所联动”交易模式,即上海市土地交易市场和上海联合产权交易所同步交易,涉及两个标的——土地与产权。“场所联动”的背后是城市更新模式的转变。

余庆里项目共7个子地块,位于8/14号线大世界站东侧、嘉里金陵华庭西侧,涵盖风貌别墅、超高层、商业、租赁等业态,商办在北面,住宅在南面。
其中,最北侧的055-01、056-01地块,由商业+办公楼组成;051-04地块是纯商业地块,这3副地块紧挨着大世界;
最南侧的054-03地块、059-02地块、060-02地块,皆由商品房+商业组成;060-01地块由商业+租赁用房组成,位置上靠近8/14号线大世界站。
重点看3副涉宅用地。
054-03地块,容积率1.43,地上计容建筑总面积不超过7965.11㎡,其中商业15%(建筑面积1194.77㎡)、住宅85%(建筑面积6770.34㎡),地下总建筑面积不超过9316.64㎡。
另外,住宅部分可混合一定比例的Rr1,商业部分可布局公寓式酒店。地块内各类保护保留历史建筑面积约1.24万㎡,保护更新规模不少于0.79万㎡。
059-02地块,容积率1.4,地上计容建筑总面积不超过7225.3㎡,其中商业15%(建筑面积1083.8㎡)、住宅85%(建筑面积6141.5㎡),地下总建筑面积不超过9422.5㎡。
另外,住宅部分可混合一定比例Rr1,商业部分可布局公寓式酒店;需配建5%的公租房;全装修住宅面积100%;各类保护保留历史建筑面积约0.88万㎡,保护更新规模不少于0.72万㎡。
060-02地块,容积率4.92,规划有150米超高层、商业等,地上计容建筑总面积不超过29444.67㎡,其中商业10%(建筑面积2944.47㎡)、住宅90%(建筑面积26500.2㎡),地下总建筑面积不超过9253.67㎡。
另外,住宅部分可混合一定比例的Rr2、Rr1,商业部分可布局公寓式酒店;需配建5%的公租房;全装修住宅面积100%;各类保护保留历史建筑面积约0.84万㎡,保护更新规模不少于0.74万㎡。
近日,小胖看房团群友爆料了一份黄浦核心余庆里地块的设计过程稿,一起来看下吧~
特别提示:以下内容均为设计过程稿,仅供参考,以开发商正式公示为准。
据爆料,项目预计推出建面约150-330㎡高层,建面约125㎡洋房,建面约270-350㎡风貌别墅,产品十分丰富。
产品分布及户型图如下:
建面约125㎡洋房,建面约270-350㎡风貌联排:

建面约150-330㎡高层:


余庆里地块共6个地块,整体的功能布局由北向南从商业逐渐向住宅过渡,延续“北商南住”规划思路。
金陵东路界面上,则是骑楼建筑风格,与嘉里金陵华庭相呼应。
项目将缔造个性鲜明的商业新地标:新世界,多元融合的文化新地标:大聚场, 文脉延续的住宅新地标:最生活。

文化新地标,建筑面积约12200㎡
“新世界”包括舞台艺术,文化演艺,艺术教育等,将借力大世界,引入“元宇宙”的全新理念,设置演艺综合体。新世界与大世界呼应、互融共促。

商业新地标,建筑面积约28100㎡
大聚场包括老字号餐饮,创意餐饮,城市集市,特色餐饮等。
其中,演艺综合体与大聚场相辅相成,为顺应由大世界与新世界带来的消费人流需求,将太原坊打造为“大聚场”—美食街坊。

沿云南路是“大聚场”的延伸,将设置连续的商业界面,保留云南路美食街的传统特色。

沿金陵东路应设置连续的商业界面,延续和修补沿街骑楼建筑形式,达到” 应骑尽骑”。

生活新地标,建筑面积约68700㎡
住宅部分包括建面约5300㎡配套商业,建面约20700㎡合院住宅,建面约42700㎡高层住宅等。
保护里弄肌理,更新竖向关系,多层与高层、历史与未来的叠加共生,延续记忆中的巷道空间,补充延续片区原有居住功能,形成复合街区,构建文脉续的“海派生活世家府邸”。

余庆里地块位于上海市黄浦区,处于人民广场、外滩、老城厢三大历史文化风貌保护区的衔接地段,设计范围包含六个街坊。
其中,55#、56#为第一批成片风貌保护街坊,51#、54#、59#、60#为第二批成片风貌保护街坊。
另外,51#、56#、55#、60#四个地块多为保留历史建筑,需采取"保留修缮更新改造"的方式进行保护更新。
54#、59# 地块为一般历史建筑,可采取"优化复建"的方式进行保护更新。

方案中还提到了大量修缮/修复历史建筑的方式,包括:
①修缮保留历史建筑-锦衣坊,原址原状保护。

②保留特存色空间,存续历史立面。
③还原云南路历史界面,修复“小绍兴”非历史立面。

④保留历史构件,融入现代元素。
⑤保留历史立面,更新内部功能。
⑥保留里弄巷道,覆以玻璃联通。

⑦延续坡顶形制,叠加延展空间。
⑧保护历史肌理,整合空间结构。
⑨拓展巷道尺度,提升空间品质。

⑩疏导坊内拥挤,植入开放空间。
⑪保留历史肌理,形成水平共生。
⑪延续里弄肌理,形成垂直共生。

更多效果图如下:
来源:小胖看房
声明:本文由入驻焦点开放平台的作者撰写,除焦点官方账号外,观点仅代表作者本人,不代表焦点立场。


