大悦城控股成功获取北外滩116街坊地块
扫描到手机,新闻随时看
扫一扫,用手机看文章
更加方便分享给朋友
今日,大悦城控股发布信息称成功获取北外滩116街坊地块。
今年7月25日,虹口区人民政府与大悦城控股集团股份有限公司(简称“大悦城控股”)签订战略合作框架协议,双方将构建政企合作、央地联动机制,增进优势互补,深化务实合作,推动互利共赢,实现共同发展。
大悦城控股集团股份有限公司是中粮集团旗下唯一的地产投资和管理平台。多年来,公司以“持有+销售”双轮驱动,稳健发展;以“产品+服务”双核赋能,不断创造新的价值增长点。公司定位“城市运营商与美好生活服务商”的战略方向,肩负“创造城市永续价值,追求可持续性幸福”的企业使命,力争成为更具持续发展能力的城市美好生活创造者。
北外滩116街坊地块,东至保定路、南至昆明路,西至住宅小区,北至唐山路,占地面积为23849.2㎡,容积率1.95,地上计容面积46505.94㎡,用地性质为Rr1Rr3混合用地,其中混合地比例为Rr1≥60%、Rr3≤40%。地块内含历史建筑保护更新规模约2.8万平方米,具体以建设项目规划管理阶段审定的方案为准。保留历史建筑、一般历史建筑结合实施方案进行细化甄别,具体更新方式以建设项目规划管理阶段审定的方案为准。同时该地块经市相关部门同意,该地块无配建保障房和自持住宅比例要求。 根据出让信息显示,该地块竣工时间为2026年4月18日。
而在2022年12月27日,北外滩集团旗下的上海耀耀禄建设发展有限公司正式通过协议方式获得虹口区北外滩街道hk367-01地块。而"耀耀禄"这个名字即116的谐音,不得不感叹,这项目公司真是会起名字啊!
本以为北外滩集团将主导该地块的开发,可是万万没想到,时隔两个月的时间都不到,就在上海联合产权交易所官网上就出现了关于地块项目公司上海耀耀禄建设发展有限公司100%股权及相关债权转让的信息。
根据上海联合产权交易所官网上披露的信息来看,上海耀耀禄建设发展有限公司成立于2020年7月1日,注册资本为128,000万元,控股股东为上海中虹(集团)有限公司,是北外滩集团旗下一级子公司,而上海耀耀禄建设发展有限公司属于北外滩集团旗下二级子公司。
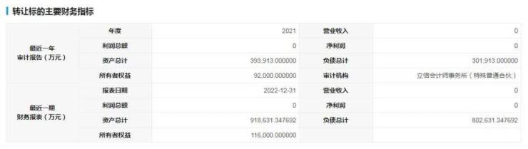
而根据2022年12月31日披露的财务指标情况,目前上海耀耀禄建设发展有限公司总资产为918,631.347692万元,而负债总计802,631.347692万元,净资产为116,000万元。 同时根据当时上海联合产权交易所针对项目发布的要求,意向受让方在受让本项目时需编制设计方案。
从项目此前的概念设计来看,该地块的体量其实不大,200套不到房源,包含一栋高层大平层公寓,及一片历史风貌别墅,楼典简单估算,高层总价估计要在4000万元左右,而别墅则在8000万元以上,大悦城控股完成收购后,会重新设计方案,但整体变化空间不大。


116街坊也是虹口北外滩地区规划正式公布后,区域内第一块出让的以城市更新为主的住宅地块,而此次大悦城成功获取北外滩116街坊住宅地块,也将为北外滩未来历史风貌保护街坊住宅开发起到引领的作用。
声明:本文由入驻焦点开放平台的作者撰写,除焦点官方账号外,观点仅代表作者本人,不代表焦点立场。


